The photos you provided may be used to improve Bing image processing services.
Privacy Policy
|
Terms of Use
Can't use this link. Check that your link starts with 'http://' or 'https://' to try again.
Unable to process this search. Please try a different image or keywords.
Try Visual Search
Search, identify objects and text, translate, or solve problems using an image
Drag one or more images here,
upload an image
or
open camera
Drop images here to start your search
To use Visual Search, enable the camera in this browser
All
Search
Images
Inspiration
Create
Collections
Videos
Maps
News
Copilot
More
Shopping
Flights
Travel
Notebook
Top suggestions for ATR 200X Carb Exploded-View
Keihin
Carb Exploded-View
Exploded View
Diagram
PB-250
Carb Exploded-View
Mikuni Carburetor Exploded View
Diagrams
Marvel
Carb Exploded-View
Weber 40 Dcoe
Exploded-View
VW Engine
Exploded View
Summit Racing M2008
Carb Exploded-View
PB-250 HIPPA
Carb Exploded-View
Exploded View
of Webber Dcoe Carb
Da 50 Engine
Carb Exploded-View
XR 70
Carb Exploded Views
Holley 600
Carburetor Diagram
93 Club Car
Carburetor Exploded-View
Mikuni VM
Carburetor Diagram
Carburetor Exploded-View
Johnson V4
Carb Exploded-View
49Cc
Carburetor Exploded-View
Weber DCOE 45
Exploded-View
1428K4r
Carburetor Exploded-View
Weber Dcoe Carburator
Exploded-View
Explore more searches like ATR 200X Carb Exploded-View
Ford
Engine
Honda
Engine
Hydraulic
Pump
Canister
Round
Fountain
Pen
Harley Evolution
Engine
Drip Coffee
Maker
Hand
Drill
Camera
Lens
Coffee
Machine
Smart
Gun
Flat
Pack
Steam
Iron
Cold Dark
Matter
Power
Drill
F1
Car
Flat
Roof
Water
Meter
Arrma
Vorteks
Chevy Tilt Steering
Column
BMW E46 M3
S54 Engine
Car
Chassis
Power
Swivel
Car
Side
Panel
Door
Brush
Pen
Edwards Vacuum
Pump
Assembly
Drawing
AC
Motor
V6
Engine
Jet
Engine
Harley
Engine
Toilet Lever
Assembly
Motorcycle
Engine
Microwave
Door
Camera
Diagram
Polaris
Winch
Traxxas
UDR
Can
Opener
Gate
Latch
Digital
Camera
Technical
Drawing
Homemade Solar
Generator
Acoustic
Guitar
Aircraft
Engine
Ev
Motor
Winchester
Model 12
Glock
Parts
Paper
Stapler
Shipping
Container
People interested in ATR 200X Carb Exploded-View also searched for
Electric
Drive
Generator
Components
Motor
Engine
Industrial
Design
Ferrari V8
Engine
Wooden
Chair
Xbox
Series
Toothbrush
Syntactic
Petrol Car
Engine
Arrma Kraton
4S
CMOS Camera
Module
Autoplay all GIFs
Change autoplay and other image settings here
Autoplay all GIFs
Flip the switch to turn them on
Autoplay GIFs
Image size
All
Small
Medium
Large
Extra large
At least... *
Customized Width
x
Customized Height
px
Please enter a number for Width and Height
Color
All
Color only
Black & white
Type
All
Photograph
Clipart
Line drawing
Animated GIF
Transparent
Layout
All
Square
Wide
Tall
People
All
Just faces
Head & shoulders
Date
All
Past 24 hours
Past week
Past month
Past year
License
All
All Creative Commons
Public domain
Free to share and use
Free to share and use commercially
Free to modify, share, and use
Free to modify, share, and use commercially
Learn more
Clear filters
SafeSearch:
Moderate
Strict
Moderate (default)
Off
Filter
Keihin
Carb Exploded-View
Exploded View
Diagram
PB-250
Carb Exploded-View
Mikuni Carburetor Exploded View
Diagrams
Marvel
Carb Exploded-View
Weber 40 Dcoe
Exploded-View
VW Engine
Exploded View
Summit Racing M2008
Carb Exploded-View
PB-250 HIPPA
Carb Exploded-View
Exploded View
of Webber Dcoe Carb
Da 50 Engine
Carb Exploded-View
XR 70
Carb Exploded Views
Holley 600
Carburetor Diagram
93 Club Car
Carburetor Exploded-View
Mikuni VM
Carburetor Diagram
Carburetor Exploded-View
Johnson V4
Carb Exploded-View
49Cc
Carburetor Exploded-View
Weber DCOE 45
Exploded-View
1428K4r
Carburetor Exploded-View
Weber Dcoe Carburator
Exploded-View
1000×500
wiringpictures.net
Understanding the Honda 200x Carburetor: A Visual Diagram
446×334
cmsnl.com
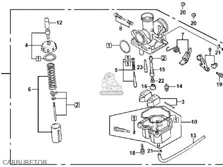
Honda ATC200X 1985 (F) USA parts lists and schematics
1000×500
wiringpictures.net
Understanding the Honda 200x Carburetor: A Visual Diagram
1296×2256
storage.googleapis.com
Carburetor Exploded Diag…
Related Products
Exploded View Drawing
Exploded View Art
Exploded View Book
458×634
motor-forum.nl
Carb exploded view.png | Mot…
736×1554
dk.pinterest.com
Carburetor Exploded View
1500×855
cmsnl.com
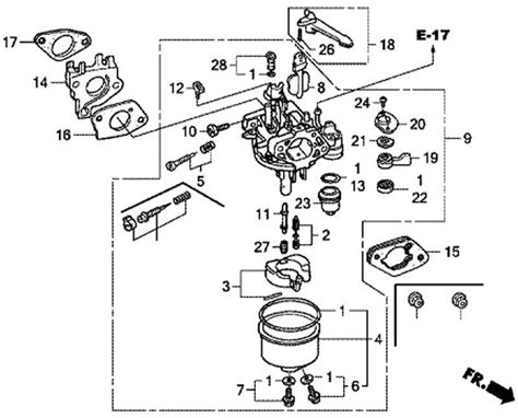
Honda Atc200es Big Red Usa Carburetor - schematic partsfiche
678×613
device.report
O.S. ENGINE 4 Stroke Gas Engine with Ignition Mod…
300×300
motor-forum.nl
Carb exploded view.png | Motor-Forum
643×553
researchgate.net
Case study: exploded view of a carburetor. | Download Scient…
1454×1500
amazon.com
Amazon.com: Anxingo ATC200 Carburetor Rep…
583×675
reviewmotors.co
Triumph Bonneville Carb Parts | Review…
1200×706
wiringdatabaseinfo.blogspot.com
Honda Atc 200 Carb Diagram - Wiring Site Resource
Explore more searches like
ATR 200X Carb
Exploded-View
Ford Engine
Honda Engine
Hydraulic Pump
Canister Round
Fountain Pen
Harley Evolution Engine
Drip Coffee Maker
Hand Drill
Camera Lens
Coffee Machine
Smart Gun
Flat Pack
1000×500
techschematic.com
How to Understand and Use a Honda Carburetor Diagram to Optimize Your ...
1864×2732
darkshadowgarage.com
Bing CV Carburetor expl…
710×863
storage.googleapis.com
Carburetor Explosion at Bryan Hanes blog
750×926
upgrademotoring.com
Mikuni Carburetor - Jet Blocks and Bl…
1023×907
storage.googleapis.com
Edelbrock Carburetor Exploded View at Marcelo Mulkey blog
446×334
cmsnl.com
Honda ATC200E BIG RED1982 (C) USA parts lists and schematics
1540×1940
carburetor-parts.com
Carter BBS Exploded Diagram View
1000×1274
AutoZone
Repair Guides
1640×2510
storage.googleapis.com
Carburetor Explosion at Br…
395×724
www.toyotanation.com
Metering needle with a collar | T…
800×645
techschematic.com
How to Understand and Use a Honda Carburetor Diagram to Op…
1808×1988
storage.googleapis.com
Nikki Carburetor Exploded View at P…
1428×1928
storage.googleapis.com
Zenith Carburetor Needle And Seat at Ronda Roth…
704×516
datavisualexpert.com
An Illustrated Guide to the Carburetor Diagram of a Honda …
670×766
storage.googleapis.com
er Carburetor Exploded View at Ella Thompson blog
640×497
signalwires.com
Understanding the Keihin CV Carburetor: A Diagrammatic Breakdown
777×1154
storage.googleapis.com
Quadrajet Carb Exploded View at Ph…
600×716
schemesnet.com
Briggs Stratton Carb Diagram
1000×1308
storage.googleapis.com
Kawasaki Carburetor Diagram at Diana Masse…
1001×1437
triumphbonneville.org
Airbox Removal Kit – Day One | Triumph Bo…
1000×1380
AutoZone
Repair Guides
544×832
storage.googleapis.com
Quadrajet Carb Exploded View at Ph…
Some results have been hidden because they may be inaccessible to you.
Show inaccessible results
Report an inappropriate content
Please select one of the options below.
Not Relevant
Offensive
Adult
Child Sexual Abuse
Feedback